利達消防設備產品
利達設備技術資訊
聯系方式
- 電話:010-57113119
- 電話:13811139776
- 傳真:010-69552656
- 郵箱:506665119@qq.com
- 地址:北京通州區新華北路117
利達火災自動報警控制系統
利達LD6806E中繼模塊
文章來自:利達消防設備 發布時間:2016-11-26 16:24

一、利達LD6806E中繼模塊介紹
LD6806E中繼模塊主要作用是擴增二總線負載能力,提高消防報警系統的可靠性。當負載(包括探測器、手動按鈕、聯動模塊)超過100mA或線路過長時建議在探測總線上加裝LD6806E總線中繼器,然后在LD6806E的輸出端可再加負載,此外LD6806E總線中繼器也具備短路保護隔離器的作用。滿足GB16806-2006《消防聯動控制系統》和《消防產品3C認證實施規則》。

二、利達LD6806E中繼模塊功能
★ 二總線,無極性,不占地址點。
★ 需DC 24V,有極性。
★ 建議同一回路中負載電流超過100mA或線路總電阻超過50Ω時加一個中繼模塊。
三、利達LD6806E中繼模塊主要技術指標
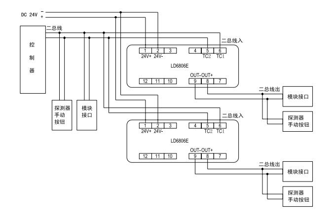
四、端子圖與接線圖示例

五、結構與安裝尺寸圖:與LD4400E-1相同


六、安裝步驟:與LD4400E-1相同
七、布線要求:參見LD128EⅡ







